Skip to main content

mAP

Dual-Chain 2.4GHz micro AP, 650MHz CPU, 64MB RAM, 2xEthernet, PoE out

PoE
mAP
Product image
Product image
Product image thumbnail
Product image thumbnail

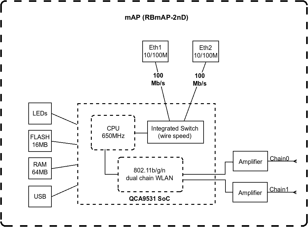
The mAP (micro Access Point) is a tiny size wireless Dual-Chain 2.4GHz Access Point with full RouterOS capabilities. It is very portable, since it accepts power from a wide variety of sources - USB, Passive PoE and power jack. It also works as a PoE injector - the second Ethernet port provides up to 500mA of power to another device, for example, you can connect a SXT CPE device to it.

Specification

Specifications
  • Product code RBmAP2nD
  • Suggested price $45.00
  • Architecture MIPSBE
  • CPU QCA9531
  • CPU core count 1
  • CPU nominal frequency 650 MHz
  • Switch chip model QCA9531-BL3A-R
  • Dimensions 68x68x19mm
  • RouterOS license 4
  • Operating System RouterOS
  • Size of RAM 64 MB
  • Storage size 16 MB
  • Storage type FLASH
  • MTBF Approximately 100'000 hours at 25C
  • Tested ambient temperature -20°C to 70°C
Wireless capabilities
  • Wireless 2.4 GHz Max data rate 300 Mbit/s
  • Wireless 2.4 GHz Number of chains 2
  • Wireless 2.4 GHz standards 802.11b/g/n
  • Antenna gain dBi for 2.4 GHz 1.2
  • Wireless 2.4 GHz chip model QCA9531
  • Wireless 2.4 GHz generation Wi-Fi 4
Ethernet
  • 10/100 Ethernet ports 2
Peripherals
  • Number of USB ports 1
  • USB Power Reset Yes
  • USB slot type microUSB type AB
  • Max USB current (A) 1
Powering
  • MicroUSB input Voltage 5 V
  • Number of DC inputs 3 (DC jack, PoE-IN, MicroUSB)
  • DC jack input Voltage 8-57 V
  • Max power consumption 5 W
  • PoE in 802.3af/at
  • Cooling type Passive
  • PoE in input Voltage 12-57 V
PoE-out
  • PoE-out ports Ether2
  • PoE out Passive PoE
  • Low voltage PoE-Out current limit 0.5 A
  • Max total out (A) 0.5 A
Certification & Approvals
  • Certification FCC, IC
Other
  • PCB temperature monitor Yes
  • Voltage Monitor Yes
Included parts
Note
The device has an operating system preinstalled and licensed. No separate purchase is necessary and the product is ready to use. The device includes free software updates for the life of the product or a minimum of 5 years starting from date of purchase.
Wireless Specification
Ethernet test results

Documents

Brochure

Read product brochure and find out about features and specification
.PDF
Brochure PDF first page

Download

Latest RouterOS stable release v7.20.6 download files for mipsbe devices.
System Package
More in download page