Skip to main content

CRS320-8P-8B-4S+RM

The first MikroTik high-power PoE++ switch – for easy and cost-effective powering of industry standard 802.3af/at/bt devices. Forget about countless power cables – create a cleaner space with PoE++!

ARM
Dual boot
PoE
ROS v7
SFP/SFP+
CRS320-8P-8B-4S+RM
Product image
Product image
Product image
Product image thumbnail
Product image thumbnail
Product image thumbnail

CRS320-8P-8B-4S+RM Cable management can get really exhausting. But it doesn’t have to. Our first PoE++ or 802.3bt switch can make your cable management so much easier, as it can output enough power for all your hotel, conference hall, office and high-rise building needs!

4K security cameras with built-in winter heating elements, LED ad screens, PoE-powered light fixtures – CRS320 can output up to 90W per port, enough even for the most demanding devices! It comes with a reliable 600 W power supply, but we’ve reserved an expansion slot for an additional PSU, in case you need to raise the power output to 1150 W.

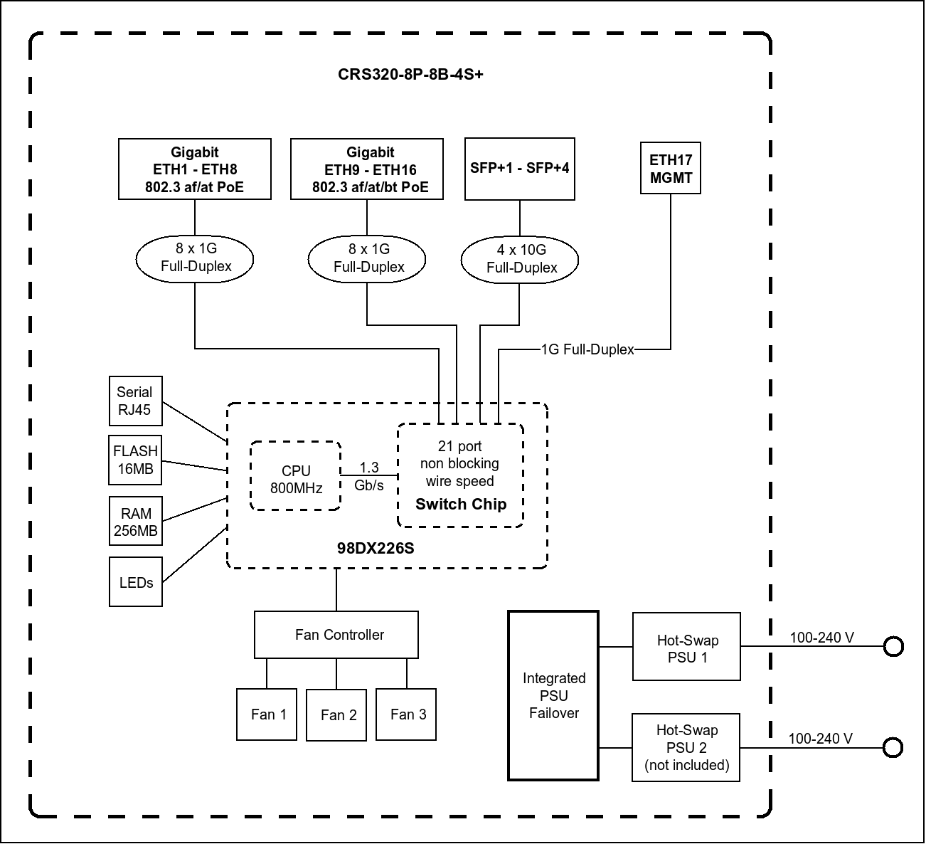
There are 17 Gigabit Ethernet ports: #1 - #8 Gigabit Ethernet ports with 802.3af/at PoE-out, #9 - #16 802.3bt PoE++ ports, and an extra Gigabit Ethernet port for management purposes. There’s also a console port, and four 10G SFP+ fiber ports for uplink.

At its core, this convenient switch has a phenomenal Marvel switch-chip – the same one you’ve seen in ISP bestsellers like the netPower 16P and netFiber 9! It can handle the heaviest loads, including VLAN-filtering and hardware-offloaded Layer-3 routing.

If you’ve been looking for a way to simplify your cable management – this is it! With a single CRS320, you can ditch that endless mess of DC power adapters and start living the clean minimalist PoE dream.

Unlike our previous 802.3af/at Power Sourcing Equipment, this is our first PoE switch with full implementation of the 802.3af/at/bt standard. It supports only fully compliant 802.3 at/af/bt Powered Devices - mAP-lite / RB1100AHx4 / CRS510-8XS-2XQ / CRS504-4XQ / FTC11XG / CRS305-1G-4S+OUT. While it can also power “802.3af/at/bt-compatible” Powered Devices, you must avoid specific grounding scenarios. Please refer to the official Help page. .

A hot-swappable PSU is included.

Video thumbnail

Specification

Specifications
  • Product code CRS320-8P-8B-4S+RM
  • Suggested price $489.00
  • Architecture ARM 32bit
  • CPU 98DX226S
  • CPU core count 2
  • CPU nominal frequency 800 MHz
  • Switch chip model 98DX226S
  • RouterOS license 5
  • Operating System RouterOS v7 / SwitchOS
  • Size of RAM 256 MB
  • Storage size 32 MB
  • Storage type FLASH
  • MTBF Approximately 200'000 hours at 25C
  • Tested ambient temperature -10°C to 50°C
Powering
  • Number of AC inputs 1
  • AC input range 100-240
  • Number of PSU slots 2
  • Frequency (Hz) 50-60
  • Max power consumption 600W (1150W with additional PSU)
  • Max power consumption without attachments 36 W
  • Cooling type 3 fans
PoE-out
  • PoE-out ports Ether1-Ether8 (af/at), Ether9-Ether16 (bt)
  • PoE out 802.3af/at/bt
  • High voltage PoE-Out current limit 560 (af/at) / 1667 (bt) mA
  • Max total out (A) 17.82 A
  • Total output current 17.82
  • Total output power 963
Ethernet
  • 10/100/1000 Ethernet ports 17
  • Number of 1G Ethernet ports with PoE-out 16
Fiber
  • SFP+ ports 4
Peripherals
  • Serial console port RJ45
Other
  • CPU temperature monitor Yes
  • PCB temperature monitor Yes
  • Voltage Monitor Yes
Certification & Approvals
  • Certification CE, EAC, ROHS
  • IP 20
Included parts
Note
The device has an operating system preinstalled and licensed. No separate purchase is necessary and the product is ready to use. The device includes free software updates for the life of the product or a minimum of 5 years starting from date of purchase.
Switching results
Ethernet test results

Documents

Brochure

Read product brochure and find out about features and specification
.PDF
Brochure PDF first page

Download

Latest RouterOS stable release v7.20.6 download files for arm devices.
Latest SwitchOS release v2.18 download files for css320p devices.
More in download page

Related Products